奔驰glc300l最新价格(奔驰glc300l雨刮器胶条更换教程)
0
2025-02-25
关于【石材干挂最常用的方法通槽式】,石材幕墙的8种干挂方式,今天犇涌小编给您分享一下,如果对您有所帮助别忘了关注本站哦。
内容导航:1、石材幕墙的8种干挂方式,全在这儿了2、石材干挂最常用的方法通槽式,石材幕墙的8种干挂方式1、石材幕墙的8种干挂方式,全在这儿了各位设计师
大家好!
所谓的建筑幕墙
就是建筑的外墙围护,不承重
像幕布一样挂上去,故又称为“帷幕墙”
是现代大型和高层建筑常用的
带有装饰效果的轻质墙体
那么幕墙有几种材料呢
首先目前市面上的幕墙
主要分为三大类:石材、玻璃、金属
只是每种材料安装方式都有一些区别
咱们今天重点了解一下
石材幕墙的干挂工艺
01.
石材幕墙干挂方式

石材幕墙干挂方式主要有7种:
单肢短槽式、双肢短槽式、钢销式
通槽式干挂法、小单元式干挂法
背栓式、托板式
几种幕墙形式中
“短槽式”和“背栓式”最为常见
1、单肢短槽式干挂法
单肢短槽式是将相邻两块石材面板
共同固定在“T”形卡条上
“T”形卡条为不锈钢或铝合金
卡条再与骨架固定
但是现在“T”形卡条已经被淘汰
只能使用“L”形卡条
2、双肢短槽式干挂法
双肢短槽式干挂法是
单肢短槽的改进做法
同样也是将相邻的两块石材面板
共同固定在“干”形卡条上
“干”形卡条一般采用
铝合金挤压成型,与骨架固定
3、钢销式干挂法

钢销式干挂法又称插针法
是干挂石工艺中最早、最简洁的做法
钢销式又分两侧连接和四侧连接
结构特点是相邻两块石材面板
固定在同一支钢销上
钢销固定在连接板上
连接板再与骨架固定
4、钢销式干挂法
通槽式挂法一般采用
铝合金SE组合挂件(部分采用T型或蝶形挂件)
在每块石板上下边开通长槽
槽深度小于15mm
开槽宽度宜为6mm
挂件厚度大于4mm
5、小单元式干挂法
小单元式干挂法是由金属副框
各种单块板材采用金属挂钩与立柱
横梁连接的可以拆装的建筑幕墙
小单元式的干挂法工艺中的石材
是通过铝合金卡条与骨架相连
但相临的石材均是
独立与骨架(铝合金主梁)相连
这一连接方式彻底改变了
传统干挂石材幕墙的物理性能
设计方法,加工方法和施工工艺
6、背栓式
背栓式干挂法是
将石材饰面板与龙骨结构进行连接
然后借助预埋件
将龙骨结构固定在建筑结构上
同时借助底部拓孔技术
将背栓的挂件与石材的饰面板进行有效固定
这种方式可以有效地
避免两者连接处的开缝问题
并消弱石材饰面板对龙骨结构的反作用
很大程度上避免了石材局部的破坏
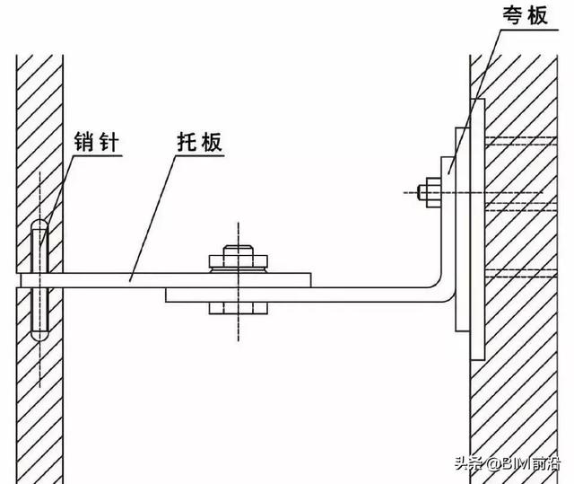
7、托板式
托板式的连接形式
是利用铝合金托板连接
粘接在工厂内完成,质量可靠
安装结构是采用挂式结构
安装时可三维调整
使用弹性胶垫安装
可实现柔性连接,提高抗震性能

以上7种方式是以金属挂件
将饰面石材直接吊挂与墙面
或空挂与钢架之上
只适合解决规则的面层材料
那不规则的碎拼材料怎么实现幕墙干挂呢?
02.
不规则碎拼材料干挂实现方式

1、工艺做法
1)在原建筑结构上钻孔安装膨胀螺栓,然后将5角钢固定在墙面上。根据需求和力学计算确定其安装密度和深度形成钢骨架。
2)将3~5mm镀锌薄钢板冲压成蜂窝板,根据现场实际情况确定孔洞的大小和密度。
一般根据不规则面层装饰材料的平均大小,来确定最小面积材料,至少应覆盖5个以上的空洞为宜,以确保不规则面层装饰材料的安装牢固度。
3)现场使用不锈钢钻尾螺丝,将镀锌蜂窝钢板固定在焊接好的钢骨架上,使用柔性结构胶涂抹在不规则面层装饰材料上。
粘贴的位置需要对准用力压下,待部分柔性结构胶从镀锌蜂窝钢板的孔洞中溢出即可。

4)不规则面层装饰材料安装完成后,待柔性结构胶风干凝固后,使用钻尾螺丝对部分不规则面层装饰材料进行二次加固,产生的表面孔洞使用调色水泥进行修补。

5)使用参胶水泥经过调色后,对不规则面层装饰材料之间缝隙进行嵌缝处理。
2、工艺注意要点

1)安全考虑:
考虑到幕墙材料自重大存在脱落的可能性,需要对柔性结构胶与钢板的附着力进行测试。
采用基层钢板打孔的方式来实现溢胶成勾法点挂不规则幕墙材料技术,确保饰面材料与钢板之间的附着力。

2)背面防剥落处理
采用多角度斜角切割开槽,使材料的背面形成凹槽,结构胶填满凹型槽时形成一个扭矩挂钩形式,来增加结构胶和不规则面层材料的粘结力。

3)干挂结构材料深化设计调整
用物理锚栓的方式,将结构材料固定在不规则材料室内外幕墙干挂系统基层结构上。
考虑到室内外幕墙的高度超高、面积过大,单块面层装饰材料自重较大,多板块层层累加易造成面层破碎或剥离现象。
可以通过分层局部表面隐蔽锚栓的固定方式,将面层材料与基层钢板锚固,防止面层材料的破碎与下垂。

4)防止孔洞氧化
考虑到薄钢板孔洞易腐蚀,可采用以下方式进行防护处理:
3、碎拼材料干挂方式的优势

1)解决各种不规则碎拼材料幕墙的安装困难。
2)安全性提高:超薄金属板做基层,减轻结构自重,减少对基层的影响,结合三重稳固技术,防止面层材料破碎下坠。
3)经济效益提高:面材价格便宜,不容易耗损,重量轻,运费低廉,后期维护比天然石材简单。
2、石材干挂最常用的方法通槽式,石材幕墙的8种干挂方式装修对于大多数人来说都是比较陌生的事情,因此对于其中各种各样的工序也是着实让人伤脑筋,那么其中石材点挂和干挂的区别有哪些呢?一起来了解一下吧!
石材点挂与干挂的区别
1、石材点挂
石材点挂,就是在原结构墙上不做钢骨架,只用一个角码做支撑,固定石材用的不锈钢挂件直接安装在角码上。这种做法在原结构为砼墙且空间要求有限的情况下可以做,但要经设计和甲方同意。
2、石材假干挂
假干挂一般都在室内较多,干挂正常的工序做法应该是预埋件(后置预埋件)、安装竖龙骨、安装横龙骨、挂石材、打胶密封,而假干挂的做法有的只有竖龙骨,有的只有横龙骨,这种情况的出现分为三种,首先是图纸就是这样设计的那就是相对结省造价,缩小成活空间;其次在甲方要求缩小成活空间的情况下经设计同意,也可以做;第三点就是施工方在甲方和设计不懂施工的情况下所做的偷工减料。
3、石材干挂
石材干挂法虽较传统湿贴法造价高、空间损失大”这句话的意思是,石材干挂法在工程造价方面比传统的湿挂法要高的多,在施工工艺上比湿挂法先进、施工质量也比湿挂法有保证,但石材干挂法施工所占的成活空间要比湿挂法要大的多,使原本有限的室内空间变的更小(简单的说,湿挂需用成活空间在50-80mm之间,而干挂石材比这个还要大)。
石材点挂与假干挂相关问题
1、点挂和假干挂,撇开石材本身的费用,大概多少钱一平米?
不算石材的费用即基层骨架的费用,这要根据排板后的石材规格大小和设计骨架的间距和材料型号来确定,请说明。点挂除石材以外的成本只需计算挂件、角码、预埋件的费用,假干挂在点挂的基础上增加钢龙骨的费用。
2、25层的高楼,下面2层是裙房,裙房外墙采用点挂花岗岩,上部均采用外墙面砖。那么同样大小的窗,比如都是1200*1500,到了裙房因为石材干挂那么洞口就没有1200*1500,如果还是一样的立面效果,那么下面2层的窗线条和上部就对不上号了。
窗洞口在成活后完全可以做成上下一条线,你首先弹好窗外框的成活线,或者在已装好的窗框上统一设定离框边多远为成活面;窗洞两侧的石材如果没有足够的空间干挂可以采用别的办法,如吊铜丝灌浆、胶粘等等,也可在墙面钢骨架的横头上设一个挂件,石材基本紧贴洞口成活。
点挂和假干挂在外墙装修上应该是不允许的,危险系数太大,不安全。
干挂石材有何优势?
1、是可以有效地避免传统湿贴工艺出现的板材空鼓、开裂、脱落等现象,明显提高了建筑物的安全性和耐久性;
2、可以完全避免传统湿贴工艺板面出现的泛白、变色等现象,有利于保持幕墙清洁美观;
3、在一定程度上改善施工人员的劳动条件,减轻了劳动强度,从而加快工程进度。
干挂石材如何施工?
1、插销式干挂石材
通过专业的开孔设备,在瓷板棱边精确加工成一条圆孔,将销针植入孔中,通过连接件将瓷板固定在龙骨上。由于在瓷板棱边开孔,容易崩边,瓷板损耗大,施工工艺复杂,现已被淘汰,基本不采用。
2、开槽式干挂石材
通过专业的开槽设备,在瓷板棱边精确加工成一条凹槽,将挂件扣入槽中,通过连接件将瓷板固定在龙骨上。开槽式瓷板幕墙的不足在于对瓷板厚度要求较高,一般瓷板不小于15mm厚;开槽时容易崩边,损耗大;需要安装钢龙骨,加大建筑物承重,且增加成本。
3、背栓式干挂石材
通过专业的开孔设备,在瓷板背面精确加工里面大、外面小的锥形圆孔,把锚栓植入孔中,拧入螺杆,是锚栓底部完全展开,与锥形孔相吻合,形成一个无应力的凸型结合,通过连接件将瓷板固定在龙骨上。这种干挂饰面板安装工艺亦可与玻璃幕墙或大玻璃窗、金属饰面板安装工艺等配套应用。现国内不少大型公共建筑的石材内外饰面板安装工程采取这种干挂石材的施工工艺。
以上就是这次为大家分享的石材点挂和干挂的区别方面的介绍,小礼物希望你家的装修有所帮助!
噼里啪啦一顿牛皮的内容分享完毕,记住关键词:石材干挂的施工过程视频,干挂石材开槽教程,石材干挂怎么放线,石材干挂法优缺点,石材干挂讲解。